The new iPhone may be made out of Glass
Probably this week could be the Week of Patents. Recently we wrote an article about “Nokia’s patent on its new tattoo vibrator“. Now here’s an another patent by the iPhone maker Apple, for its newly proposed iPhone design that could be made out of Glass.
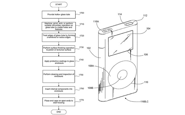
The future iPhone could be designed from an “hollow glass tube” or two pieces of glass bonded together. The material is said to be radio transparent and the device could be hermetically sealed thus preventing the water from entering the phone.
Though there could be many problems in using the glass for casing an electronic device. But Apple believes Glass could be the suitable material for enclosing electronic devices.
Some of the reasons for using glass over other materials are that glass is strong, stiff, and radio transparent and therefore a suitable material for an enclosure of an electronic device capable of wireless communications.

So, do you like to have an iPhone made out of glass? Put in your opinion in our comment section.